2025-05-09
HaiPress
中新网北京5月9日电(记者 吴家驹)“直播间卖‘德子土鸡’,结果‘德子土’是商标名?”
最近,在《康熙微服私访记》中饰演“三德子”的演员赵亮,因为所卖土鸡陷入争议。
在为浙江“胖都来”商场录制开业视频受到关注后,赵亮在直播间销售的“德子土鸡”被网友发现外包装商标实为“德子土”。
赵亮在某电商平台的店铺“三德子官方旗舰店”,粉丝数已超过110万。店铺认证企业为成都三德子好甄选农业科技有限公司,售卖的商品以不同种类鸡肉为主。

店铺截图。
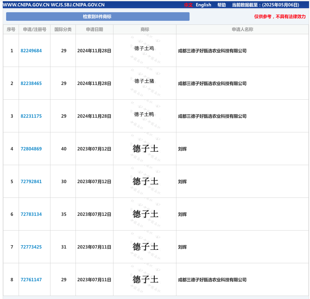
记者查询中国商标网,该公司曾于2023年7月申请注册一枚“德子土”商标,国际分类为29,商品/服务包括:肉;腌制肉;家禽(非活)等。目前该商标状态为“注册商标”。
除“德子土”商标之外,中国商标网显示,成都三德子好甄选农业科技有限公司还曾于2024年11月,申请注册“德子土鸡”“德子土猪”“德子土鸭”等商标,国际分类均为29,目前这三枚商标的状态均为“等待实质审查”。

图自中国商标网
据大皖新闻报道,赵亮5月7日回应称,“这是误解,‘德子土’和‘德子土鸡’商标公司都注册了,是防止别人恶意注册,我们使用的品牌是‘三德子’,卖的也是正宗的生态散养土鸡。”
记者注意到,5月8日下午,“三德子官方旗舰店”依旧在更新视频,视频描述中仍带有“生态散养土鸡”“土鸡”等标签。
不过,也是在8日午后,记者发现,该店铺中有商品名称,已从“散养土鸡”变更为“散养生态鸡”。
以其中的一种“少年公鸡”为例,8日13时38分,记者查看时,该商品名称中还包括“散养土鸡”,而在当天14时55分,该商品名称中的“散养土鸡”,已变为“散养生态鸡”。截至5月8日14时55分,该款商品销量超35万,位居该电商平台土鸡爆款榜第5名。而当记者向客服询问时,对方坚称所售卖商品“当然是土鸡”。

店铺截图
对此,北京嘉潍律师事务所律师赵占领认为,赵亮在直播间宣传“德子土鸡”,但实际注册商标为“德子土”,且“德子土鸡”商标仍在审查中。消费者可能因商标与商品名称的关联性误认为“土鸡”为产品核心卖点。若商家未明确说明“德子土”仅为商标,而利用“土鸡”作为营销噱头,则可能构成误导性宣传。
赵占领表示,根据《反不正当竞争法》第六条和《消费者权益保护法》第二十条,商家需确保商品名称、标识与产品实际属性一致,避免通过“文字游戏”混淆商品来源或品质。
他还表示,若赵亮实际销售的鸡不符合土鸡标准,则涉嫌违反《广告法》第二十八条,构成虚假广告。即使产品符合土鸡标准,仍需审查商标使用是否合法。根据《商标法》第十条,“带有欺骗性”的标志不得作为商标。若“德子土”商标被认定为暗示“土鸡”属性,但未明确标注仅为商标,可能因误导性被撤销或要求整改。
值得一提的是,记者发现类似“德子土”的商标并非孤例。
此前,“千禾0”“壹号土”等商标亦曾引发争议。以往报道还曾提到,“医研抗敏牙膏”中的“医研”、“3分钟奇迹护发素”中的“3分钟奇迹”也都只是商标。
有网友质疑,类似的“心机商标”是在玩“文字游戏”,误导消费者认知,并借此获得更高的利润。
赵占领指出,当面对使用这些商标进行误导性宣传的行为时,消费者可依据《消费者权益保护法》主张知情权与选择权。
今年印发的《提振消费专项行动方案》明确提出,营造放心消费环境。
如果任由“心机商标”泛滥,将透支商家的信用根基,不利于营造放心消费环境。(完)